Pokiaľ sa pozrieme do minulosti, nie je to tak dávno, čo sme holografickú projekciu považovali za bájne sci-fi. Dnes sa síce nepoužíva v mobilných zariadeniach a ani pri počítačoch, ale sem tam nájdeme nejaký ten produkt, v ktorom funguje a funguje naozaj zaujímavo. Už sme mali možnosť vidieť maličkú škatuľku, ktorá vedela vyrobiť veľkú klávesnicu behom niekoľkých sekúnd a teraz to vyzerá tak, že by sme sa mohli dočkať toho istého aj pri iMacu!
Apple a holografická klávesnica
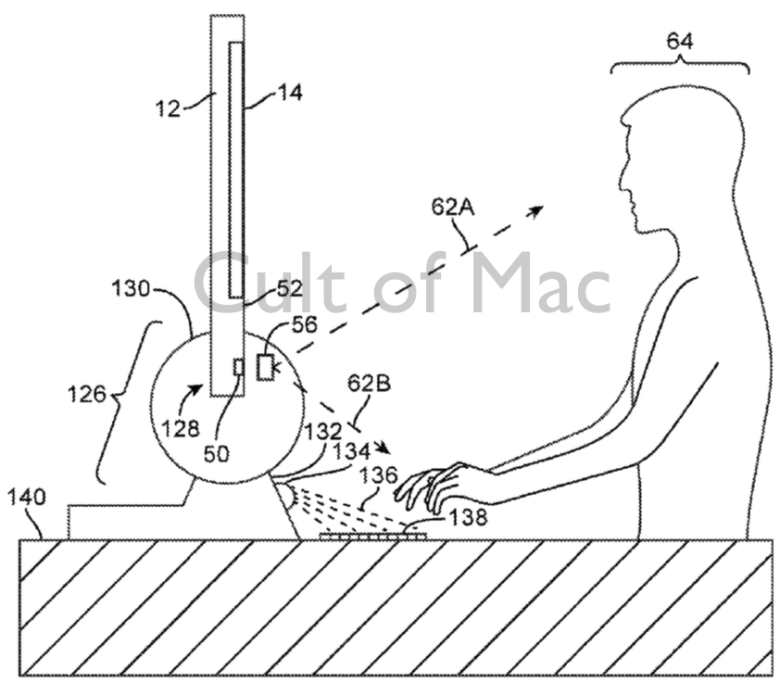
Spoločnosť Apple prišla s úplne novým patentom, ktorý nám ukazuje, ako by sa mohla spoločnosť v budúcnosti zbaviť predaja klávesnice (či možno aj TrackPadu) a tieto veci ponúkať automaticky s veľkým iMacom, ako jeho súčasť. Všetci predsa milujeme sci-fi a toto stále sci-fi tak trochu je. Na všetko by totiž stačil špeciálny senzor, kamera a holografický projektor, ktorý by nám na stole nakreslil klávesnicu. Potom by už bolo jedno, či sú naše prsty mastné, špinavé alebo nejakým iným spôsobom znečistené.
Neťukali by sme na plastové štvorčeky tak, ako teraz, ale na plochu stola, z ktorého by sa dala prebytočná špina jednoducho handričkou zotrieť. Technológia by navyše priniesla aj iné možnosti, ako napríklad menenie klávesnice. Tá základná by mala rovnaké rozmery ako tá súčasná, no pokiaľ by používateľ otvoril dajme tomu aplikáciu, v ktorej potrebuje viac počítať ako písať, mohol by mať pred sebou vyobrazené úplne iné znaky. Práve to by mala byť hlavná výhoda tejto klávesnice. Navyše by sa tu dal teoreticky využiť aj TrackPad. Stačilo by len prstom behať po stole a iMac by automaticky riadil kurzor šípky po ploche. Možností je tu fakt veľa a patent vyzerá zaujímavo. netreba ale zabúdať na to, že nie všetko, čo si Apple patentuje aj niekedy začne vyrábať!
Za celým týmto patentom stojí len tak mimochodom Nick Merz, ktorý pracuje v spoločnosti ako vrchný produktový dizajnér. Z jeho pera pochádza napríklad dizajn PowerBooku G3 a G4. V spoločnosti Apple pracoval v rokoch 1999 a 2000, kedy spoločnosť opustil. Na svoje miesto sa ale opäť vrátil v roku 2009!










